专利数据库
统计分析
产业报告
专利数据监控
产业人才
行业动态
产业政策法规
维权援助
个人中心
详情
文本
图像
标题
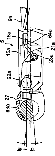
内視鏡用処置具
授权日
1900-01-01
公开(公告)号
JP2003093393A
申请日
2001-09-25
公开(公告)日
2003-04-02
当前申请(专利权)人
オリンパス株式会社
发明人
鈴木 孝之
简单同族
AT417548T | DE60230392D1 | EP1371332A1 | EP1371332A4 | EP1371332B1 | JP2003093393A | JP5073895B2 | US20040068291A1 | US20110270272A1 | US7985239 | US8419765 | WO2003028557A1
简单同族成员数量
12
简单同族被引用专利总数
193
诉讼案件数
0
法律状态/事件
未缴年费 | 权利转移
抱歉,您的浏览器不支持PDF预览,请点击链接下载PDF文件