专利数据库
统计分析
产业报告
专利数据监控
产业人才
行业动态
产业政策法规
维权援助
个人中心
详情
文本
图像
标题
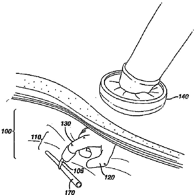
指先に取り付けられる手術器具
授权日
1900-01-01
公开(公告)号
JP2006517840A
申请日
2004-02-13
公开(公告)日
2006-08-03
当前申请(专利权)人
エシコン·エンド-サージェリィ·インコーポレイテッド
发明人
ボーゲル·ジェイムス·ダブリュ | ギル·ロバート·ピー | スタレン·フォスター·ビー
简单同族
AU2004212939A1 | CA2515851A1 | EP1592337A2 | EP1592337A4 | JP2006517840A | US20040193211A1 | WO2004073495A2 | WO2004073495A3
简单同族成员数量
8
简单同族被引用专利总数
141
诉讼案件数
0
法律状态/事件
放弃
抱歉,您的浏览器不支持PDF预览,请点击链接下载PDF文件