专利数据库
统计分析
产业报告
专利数据监控
产业人才
行业动态
产业政策法规
维权援助
个人中心
详情
文本
图像
标题
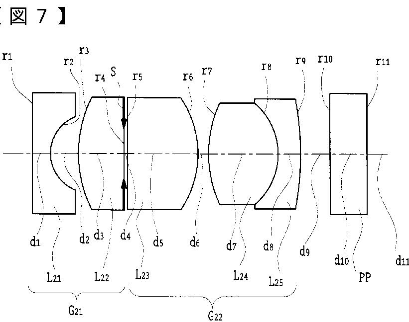
内視鏡用対物レンズ
授权日
2009-01-16
公开(公告)号
JP4245985B2
申请日
2003-05-30
公开(公告)日
2009-04-02
当前申请(专利权)人
オリンパス株式会社
发明人
齋藤 慎一
简单同族
JP2004354888A | JP2004354888A5 | JP4245985B2 | US20040240081A1 | US6956703
简单同族成员数量
5
简单同族被引用专利总数
121
诉讼案件数
0
法律状态/事件
授权 | 权利转移
抱歉,您的浏览器不支持PDF预览,请点击链接下载PDF文件