专利数据库
统计分析
产业报告
专利数据监控
产业人才
行业动态
产业政策法规
维权援助
个人中心
详情
文本
图像
标题
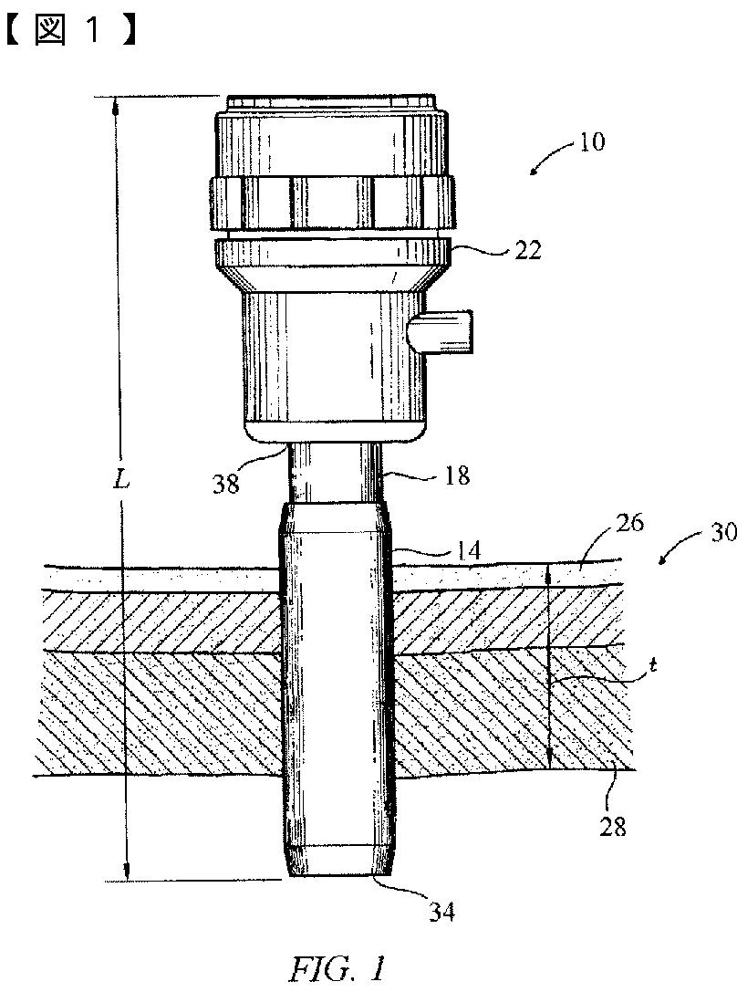
入れ子式カニューレ
授权日
2014-03-28
公开(公告)号
JP5506230B2
申请日
2009-04-10
公开(公告)日
2014-05-28
当前申请(专利权)人
コヴィディエン リミテッド パートナーシップ
发明人
グレゴリー ジー. オコニエウスキ
简单同族
AT505143T | AU2009201160A1 | CA2660750A1 | DE602009001036D1 | EP2108321A1 | EP2108321B1 | ES2362562T3 | JP2009254823A | JP5506230B2 | US20090259184A1 | US20110021880A1 | US7828775 | US8298188
简单同族成员数量
13
简单同族被引用专利总数
62
诉讼案件数
0
法律状态/事件
未缴年费
抱歉,您的浏览器不支持PDF预览,请点击链接下载PDF文件