专利数据库
统计分析
产业报告
专利数据监控
产业人才
行业动态
产业政策法规
维权援助
个人中心
详情
文本
图像
标题
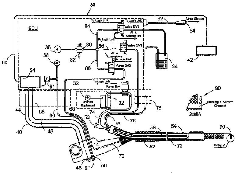
内視鏡に流体媒体を供給するための制御システム
授权日
1900-01-01
公开(公告)号
JP2008511376A
申请日
2005-08-10
公开(公告)日
2008-04-17
当前申请(专利权)人
ストライカー·ジーアイ·リミテッド
发明人
アイゼンフェルド,アムラム | レヴィン,ヴィクター | ゴーラン,サルマン | シェズィフィ,オメール | オズ,ダン | レヴィー,アヴィ
简单同族
AU2005278827A1 | BRPI0514910A | BRPI0514910A2 | CA2578537A1 | EP1784120A1 | JP2008511376A | KR1020070065302A | RU2007106440A | US20060052665A1 | US7824329 | WO2006025045A1
简单同族成员数量
11
简单同族被引用专利总数
48
诉讼案件数
0
法律状态/事件
驳回
抱歉,您的浏览器不支持PDF预览,请点击链接下载PDF文件