专利数据库
统计分析
产业报告
专利数据监控
产业人才
行业动态
产业政策法规
维权援助
个人中心
详情
文本
图像
标题
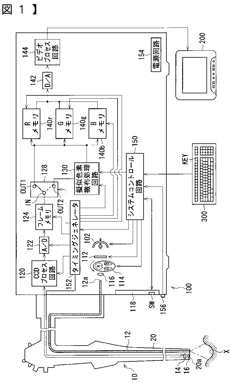
電子内視鏡装置
授权日
2006-10-20
公开(公告)号
JP3869698B2
申请日
2001-10-23
公开(公告)日
2007-01-17
当前申请(专利权)人
ペンタックス株式会社
发明人
小澤 了
简单同族
JP2003126028A | JP3869698B2 | US20030076412A1 | US6879339
简单同族成员数量
4
简单同族被引用专利总数
62
诉讼案件数
0
法律状态/事件
授权 | 权利转移
抱歉,您的浏览器不支持PDF预览,请点击链接下载PDF文件