专利数据库
统计分析
产业报告
专利数据监控
产业人才
行业动态
产业政策法规
维权援助
个人中心
详情
文本
图像
标题
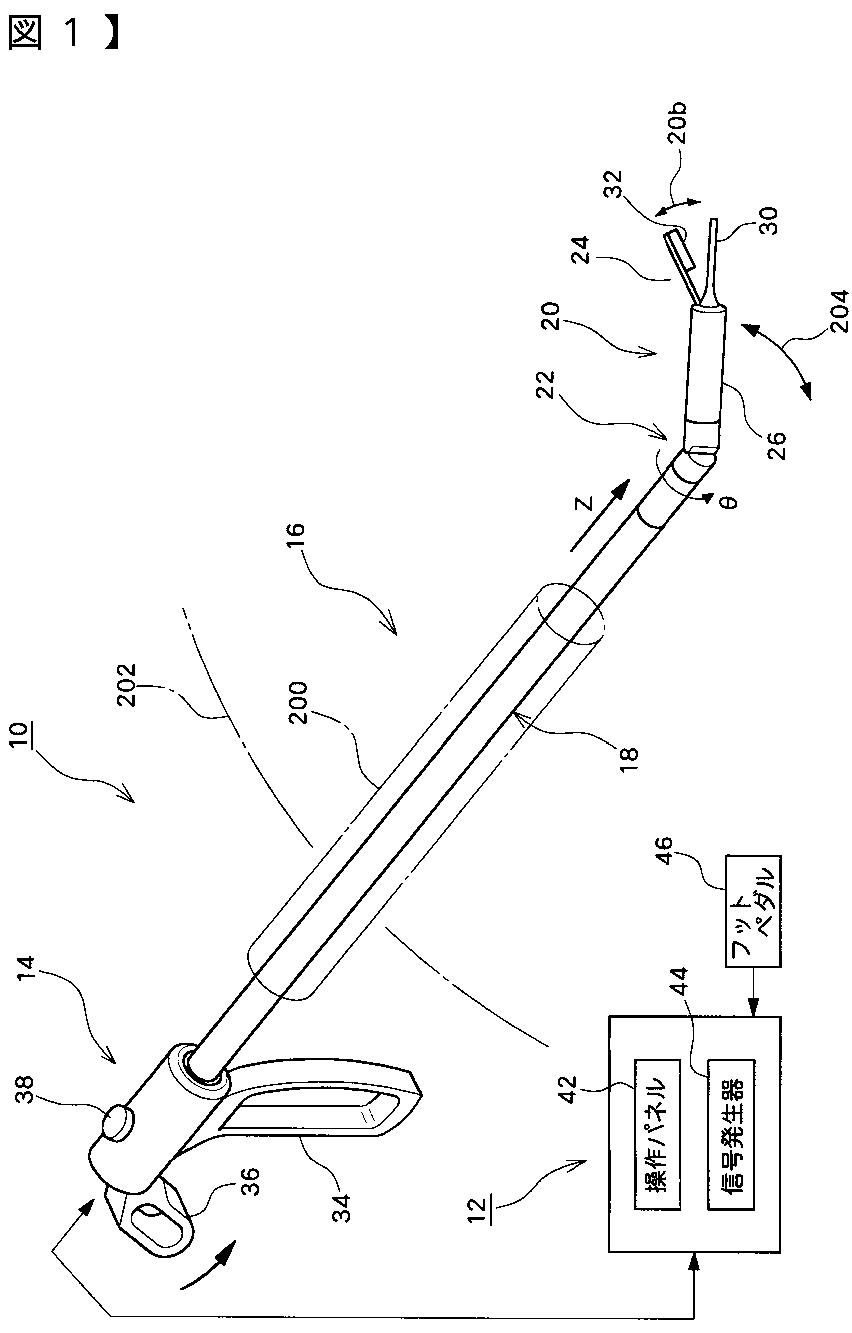
超音波手術器
授权日
2009-04-24
公开(公告)号
JP4300169B2
申请日
2004-09-10
公开(公告)日
2009-07-22
当前申请(专利权)人
アロカ株式会社
发明人
小倉 玄 | 磯野 和男
简单同族
JP2006075376A | JP4300169B2 | US20060058825A1
简单同族成员数量
3
简单同族被引用专利总数
247
诉讼案件数
0
法律状态/事件
未缴年费
抱歉,您的浏览器不支持PDF预览,请点击链接下载PDF文件