专利数据库
统计分析
产业报告
专利数据监控
产业人才
行业动态
产业政策法规
维权援助
个人中心
详情
文本
图像
标题
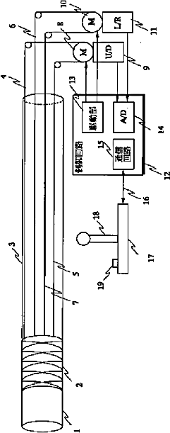
電動湾曲内視鏡のセンタリング機構
授权日
1900-01-01
公开(公告)号
JP2002323661A
申请日
2001-04-24
公开(公告)日
2002-11-08
当前申请(专利权)人
オリンパス光学工業株式会社
发明人
松井 孝一
简单同族
JP2002323661A | US20020165430A1 | US6551237
简单同族成员数量
3
简单同族被引用专利总数
35
诉讼案件数
0
法律状态/事件
驳回
抱歉,您的浏览器不支持PDF预览,请点击链接下载PDF文件