专利数据库
统计分析
产业报告
专利数据监控
产业人才
行业动态
产业政策法规
维权援助
个人中心
详情
文本
图像
标题
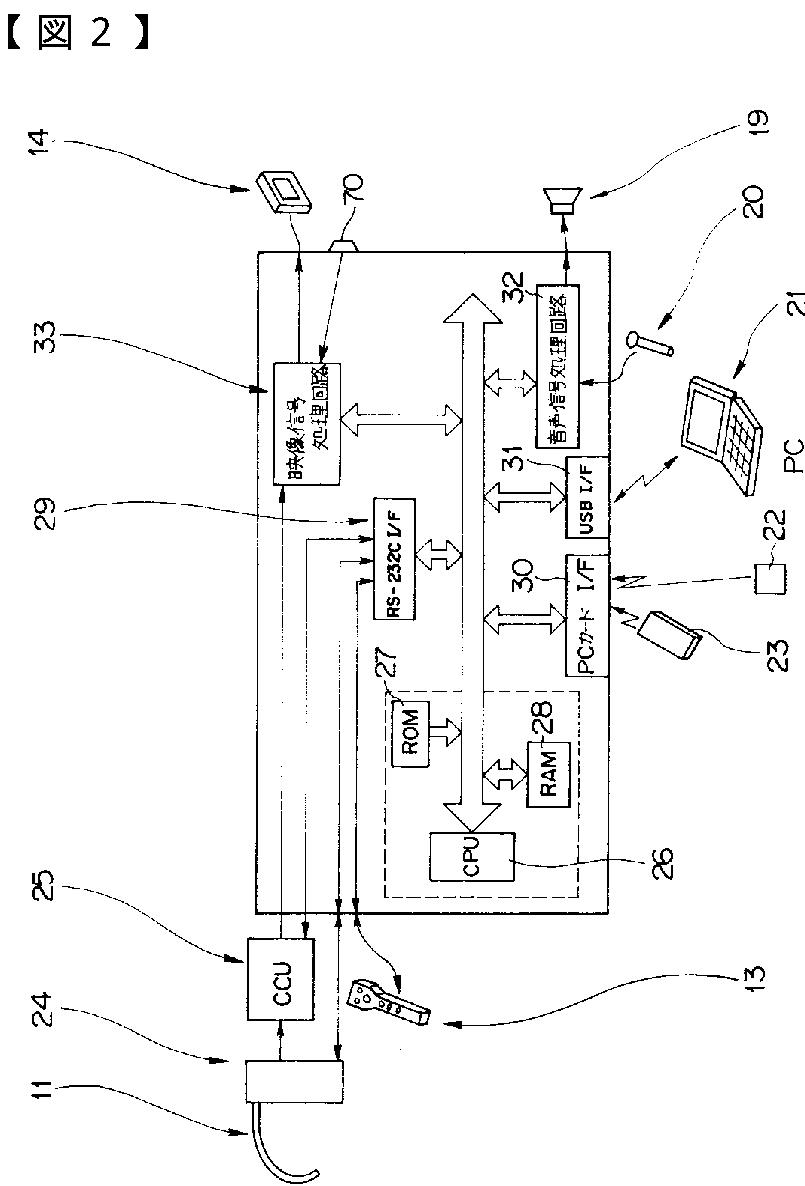
計測内視鏡装置
授权日
2010-11-26
公开(公告)号
JP4632577B2
申请日
2001-05-30
公开(公告)日
2011-02-16
当前申请(专利权)人
オリンパス株式会社
发明人
小川 清富
简单同族
JP2002345738A | JP4632577B2 | US20020183590A1 | US6890296
简单同族成员数量
4
简单同族被引用专利总数
39
诉讼案件数
0
法律状态/事件
授权 | 权利转移
抱歉,您的浏览器不支持PDF预览,请点击链接下载PDF文件