专利数据库
统计分析
产业报告
专利数据监控
产业人才
行业动态
产业政策法规
维权援助
个人中心
详情
文本
图像
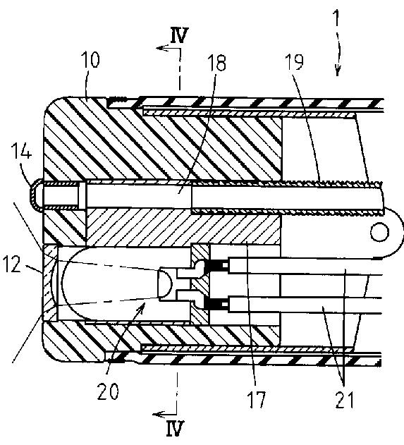
标题
内視鏡の先端部
授权日
2011-07-22
公开(公告)号
JP4786790B2
申请日
2000-12-14
公开(公告)日
2011-10-05
当前申请(专利权)人
HOYA株式会社
发明人
小幡 佳寛 | 佐野 浩
简单同族
JP2002177197A | JP4786790B2
简单同族成员数量
2
简单同族被引用专利总数
55
诉讼案件数
0
法律状态/事件
授权 | 权利转移
抱歉,您的浏览器不支持PDF预览,请点击链接下载PDF文件