专利数据库
统计分析
产业报告
专利数据监控
产业人才
行业动态
产业政策法规
维权援助
个人中心
详情
文本
图像
标题
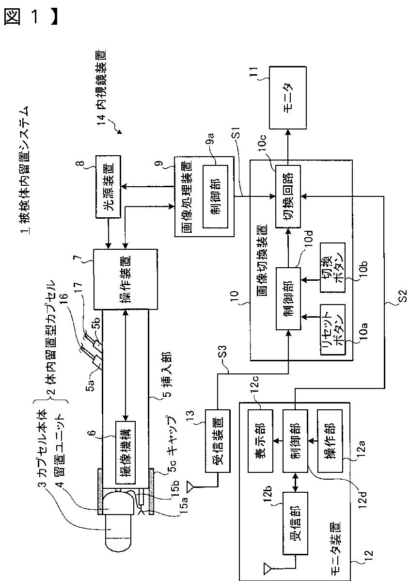
撮像表示システムおよび被検体内留置システム
授权日
2010-06-18
公开(公告)号
JP4530931B2
申请日
2005-07-14
公开(公告)日
2010-08-25
当前申请(专利权)人
オリンパス株式会社 | オリンパスメディカルシステムズ株式会社
发明人
平川 克己 | 横井 武司 | 内山 昭夫 | 田中 慎介 | 瀧澤 寛伸
简单同族
CN101179981A | CN101179981B | EP1902660A1 | EP1902660A4 | EP1902660B1 | JP2007020806A | JP2007020806A5 | JP4530931B2 | US20080117291A1 | US8269823 | WO2007007842A1
简单同族成员数量
11
简单同族被引用专利总数
38
诉讼案件数
0
法律状态/事件
未缴年费 | 权利转移
抱歉,您的浏览器不支持PDF预览,请点击链接下载PDF文件