专利数据库
统计分析
产业报告
专利数据监控
产业人才
行业动态
产业政策法规
维权援助
个人中心
详情
文本
图像
标题
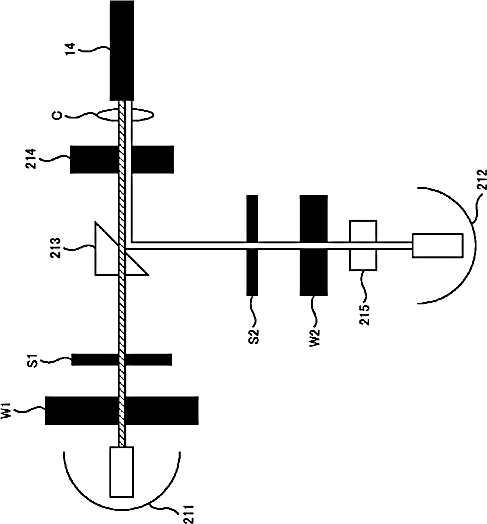
電子内視鏡装置
授权日
1900-01-01
公开(公告)号
JP2002065582A
申请日
2000-08-25
公开(公告)日
2002-03-05
当前申请(专利权)人
旭光学工業株式会社
发明人
小林 弘幸
简单同族
DE10141527A1 | DE10141527B4 | JP2002065582A | US20020026098A1 | US6638215
简单同族成员数量
5
简单同族被引用专利总数
73
诉讼案件数
0
法律状态/事件
撤回
抱歉,您的浏览器不支持PDF预览,请点击链接下载PDF文件