专利数据库
统计分析
产业报告
专利数据监控
产业人才
行业动态
产业政策法规
维权援助
个人中心
详情
文本
图像
标题
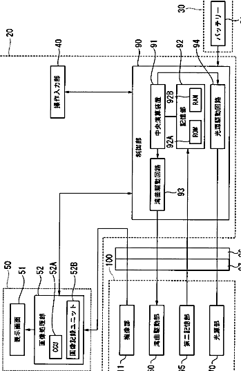
内視鏡装置
授权日
1900-01-01
公开(公告)号
JP2011098078A
申请日
2009-11-06
公开(公告)日
2011-05-19
当前申请(专利权)人
オリンパス株式会社
发明人
石神 崇和 | 稲田 歩
简单同族
JP2011098078A | JP5484863B2 | US20110112361A1
简单同族成员数量
3
简单同族被引用专利总数
27
诉讼案件数
0
法律状态/事件
授权 | 权利转移
抱歉,您的浏览器不支持PDF预览,请点击链接下载PDF文件