专利数据库
统计分析
产业报告
专利数据监控
产业人才
行业动态
产业政策法规
维权援助
个人中心
详情
文本
图像
标题
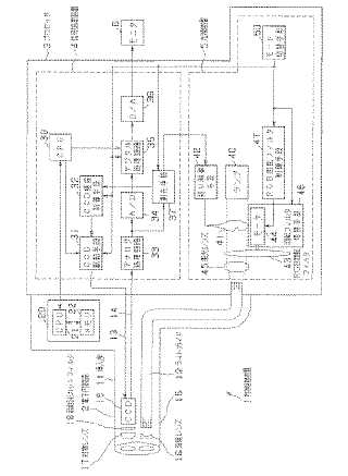
内視鏡装置
授权日
1900-01-01
公开(公告)号
JP2005006856A
申请日
2003-06-18
公开(公告)日
2005-01-13
当前申请(专利权)人
オリンパス株式会社
发明人
道口 信行 | 今泉 克一 | 高橋 義典 | 平尾 勇実 | 小澤 剛志 | 竹端 栄
简单同族
CN1572229A | DE602004026245D1 | EP1488731A1 | EP1488731B1 | JP2005006856A | US20050010081A1 | US7393321
简单同族成员数量
7
简单同族被引用专利总数
143
诉讼案件数
0
法律状态/事件
驳回
抱歉,您的浏览器不支持PDF预览,请点击链接下载PDF文件