专利数据库
统计分析
产业报告
专利数据监控
产业人才
行业动态
产业政策法规
维权援助
个人中心
详情
文本
图像
标题
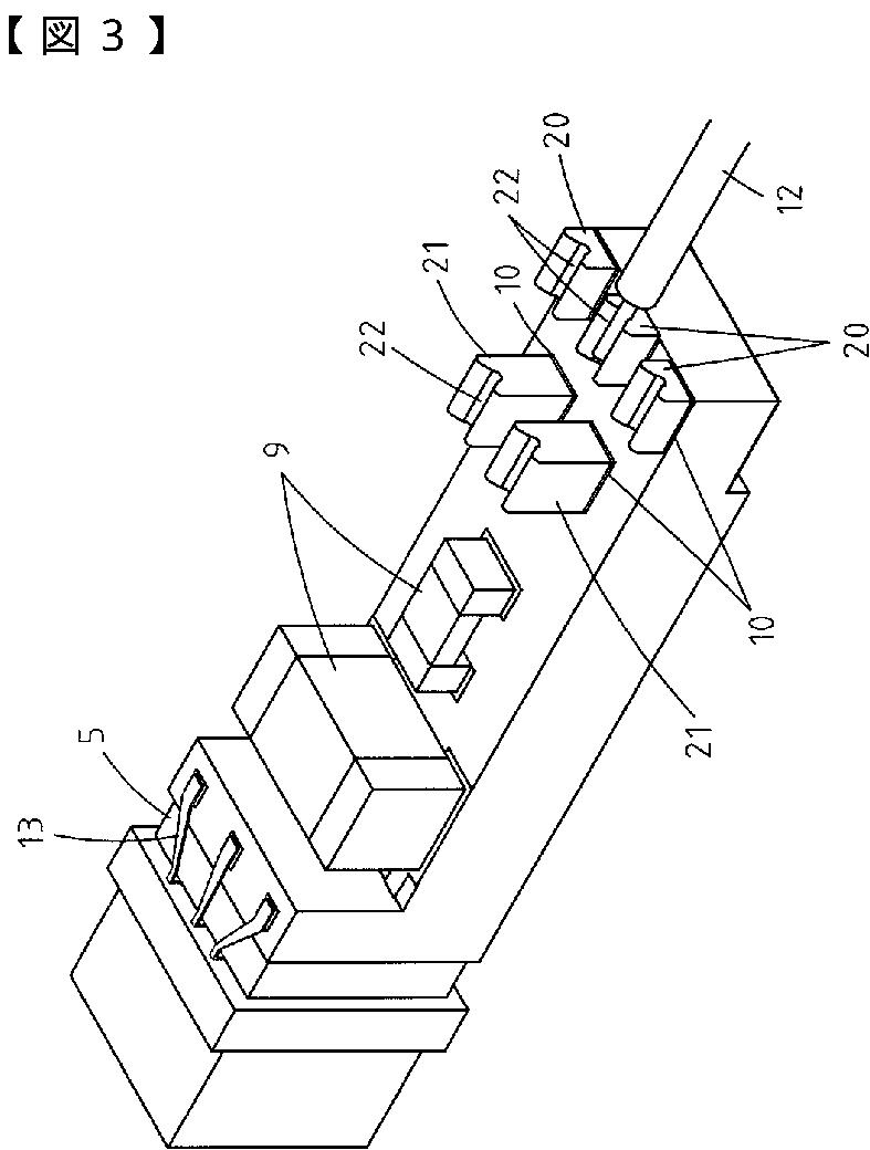
電子内視鏡の先端部
授权日
2010-02-19
公开(公告)号
JP4459701B2
申请日
2004-04-23
公开(公告)日
2010-04-28
当前申请(专利权)人
HOYA株式会社
发明人
寺本 裕吾 | 岩坂 喜久男 | 葛西 忠志
简单同族
JP2005304876A | JP4459701B2
简单同族成员数量
2
简单同族被引用专利总数
22
诉讼案件数
0
法律状态/事件
未缴年费 | 权利转移
抱歉,您的浏览器不支持PDF预览,请点击链接下载PDF文件