专利数据库
统计分析
产业报告
专利数据监控
产业人才
行业动态
产业政策法规
维权援助
个人中心
详情
文本
图像
标题
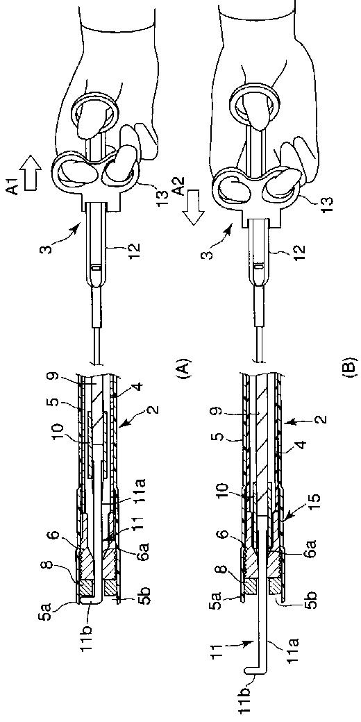
内視鏡用処置具
授权日
1900-01-01
公开(公告)号
JP2004261372A
申请日
2003-02-28
公开(公告)日
2004-09-24
当前申请(专利权)人
オリンパス株式会社
发明人
岡田 勉
简单同族
DE102004009608A1 | JP2004261372A | JP3923022B2 | US20040172018A1 | US20120203214A1 | US8192431
简单同族成员数量
6
简单同族被引用专利总数
129
诉讼案件数
0
法律状态/事件
授权 | 权利转移
抱歉,您的浏览器不支持PDF预览,请点击链接下载PDF文件