专利数据库
统计分析
产业报告
专利数据监控
产业人才
行业动态
产业政策法规
维权援助
个人中心
详情
文本
图像
标题
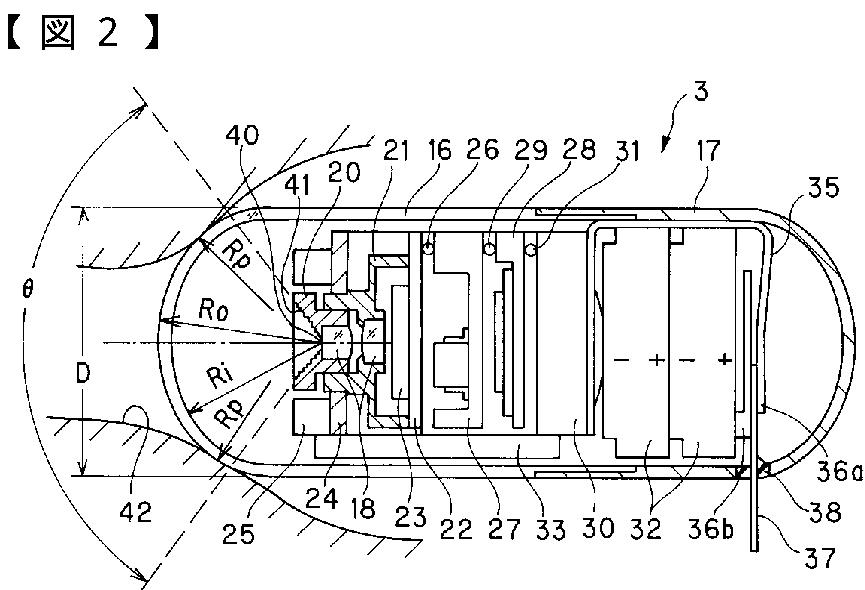
カプセル型内視鏡
授权日
2006-12-22
公开(公告)号
JP3895618B2
申请日
2002-03-08
公开(公告)日
2007-03-22
当前申请(专利权)人
オリンパス株式会社
发明人
横井 武司 | 瀧澤 寛伸 | 瀬川 英建 | 長谷川 晃 | 鈴木 隆之 | 松本 伸也
简单同族
JP2003260024A | JP2003260024A5 | JP3895618B2 | US20030171648A1 | US20050288557A1 | US6939295 | US7244229
简单同族成员数量
7
简单同族被引用专利总数
165
诉讼案件数
0
法律状态/事件
未缴年费 | 权利转移
抱歉,您的浏览器不支持PDF预览,请点击链接下载PDF文件