专利数据库
统计分析
产业报告
专利数据监控
产业人才
行业动态
产业政策法规
维权援助
个人中心
详情
文本
图像
标题
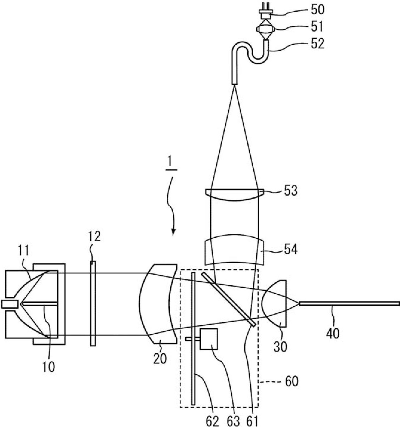
内視鏡用光源装置
授权日
2011-01-07
公开(公告)号
JP4656864B2
申请日
2004-05-31
公开(公告)日
2011-03-23
当前申请(专利权)人
HOYA株式会社
发明人
村山 稔 | 佐々木 雅彦
简单同族
JP2005342033A | JP4656864B2
简单同族成员数量
2
简单同族被引用专利总数
30
诉讼案件数
0
法律状态/事件
未缴年费 | 权利转移
抱歉,您的浏览器不支持PDF预览,请点击链接下载PDF文件