专利数据库
统计分析
产业报告
专利数据监控
产业人才
行业动态
产业政策法规
维权援助
个人中心
详情
文本
图像
标题
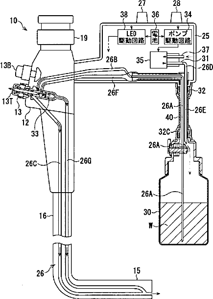
送気、送液用のボトルを備えた携帯用内視鏡
授权日
1900-01-01
公开(公告)号
JP2003070737A
申请日
2001-08-31
公开(公告)日
2003-03-11
当前申请(专利权)人
ペンタックス株式会社
发明人
伊藤 俊一
简单同族
JP2003070737A | JP3898921B2 | US20030045779A1 | US6702738
简单同族成员数量
4
简单同族被引用专利总数
43
诉讼案件数
0
法律状态/事件
未缴年费
抱歉,您的浏览器不支持PDF预览,请点击链接下载PDF文件