专利数据库
统计分析
产业报告
专利数据监控
产业人才
行业动态
产业政策法规
维权援助
个人中心
详情
文本
图像
标题
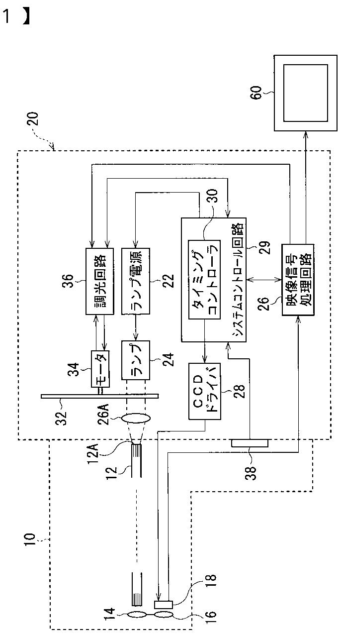
電子内視鏡装置
授权日
2011-12-02
公开(公告)号
JP4873949B2
申请日
2005-12-26
公开(公告)日
2012-02-08
当前申请(专利权)人
HOYA株式会社
发明人
杉本 秀夫 | 池谷 浩平
简单同族
DE102006061665A1 | JP2007167550A | JP4873949B2 | US20070147810A1 | US7725013
简单同族成员数量
5
简单同族被引用专利总数
48
诉讼案件数
0
法律状态/事件
未缴年费 | 权利转移
抱歉,您的浏览器不支持PDF预览,请点击链接下载PDF文件