专利数据库
统计分析
产业报告
专利数据监控
产业人才
行业动态
产业政策法规
维权援助
个人中心
详情
文本
图像
标题
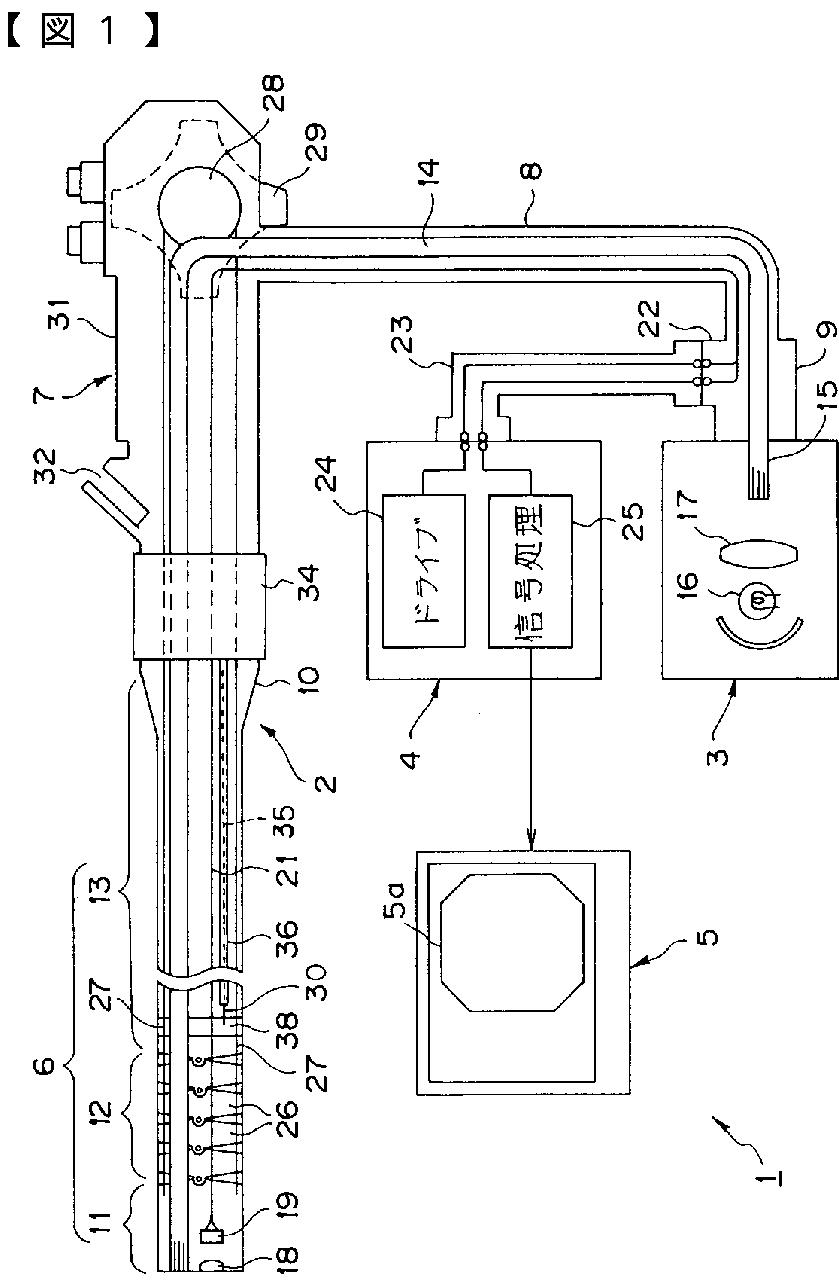
内視鏡
授权日
2007-03-02
公开(公告)号
JP3923701B2
申请日
2000-03-17
公开(公告)日
2007-06-06
当前申请(专利权)人
オリンパス株式会社
发明人
森山 宏樹
简单同族
JP2001258828A | JP3923701B2
简单同族成员数量
2
简单同族被引用专利总数
22
诉讼案件数
0
法律状态/事件
期限届满 | 权利转移
抱歉,您的浏览器不支持PDF预览,请点击链接下载PDF文件