专利数据库
统计分析
产业报告
专利数据监控
产业人才
行业动态
产业政策法规
维权援助
个人中心
详情
文本
图像
标题
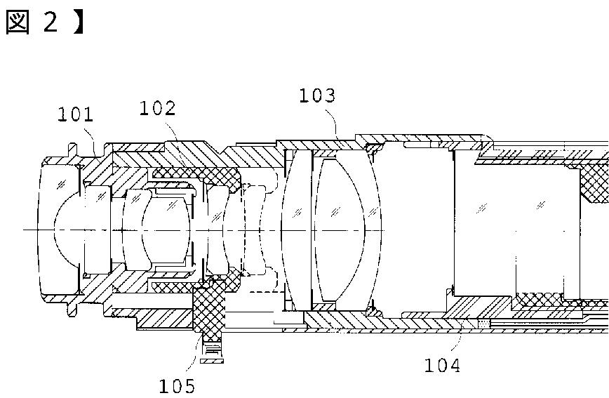
内視鏡用対物光学系
授权日
2012-12-07
公开(公告)号
JP5148403B2
申请日
2008-07-28
公开(公告)日
2013-02-20
当前申请(专利权)人
オリンパスメディカルシステムズ株式会社
发明人
野口 あずさ
简单同族
EP2149809A1 | EP2149809B1 | JP2010032680A | JP2010032680A5 | JP5148403B2 | US20100020408A1 | US8130454
简单同族成员数量
7
简单同族被引用专利总数
75
诉讼案件数
0
法律状态/事件
授权 | 权利转移
抱歉,您的浏览器不支持PDF预览,请点击链接下载PDF文件