专利数据库
统计分析
产业报告
专利数据监控
产业人才
行业动态
产业政策法规
维权援助
个人中心
详情
文本
图像
标题
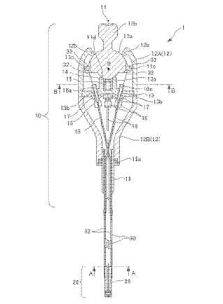
内視鏡
授权日
1900-01-01
公开(公告)号
JP2009089955A
申请日
2007-10-10
公开(公告)日
2009-04-30
当前申请(专利权)人
株式会社アールエフ
发明人
松野 功 | 佐藤 信悟 | 矢花 佑介
简单同族
JP2009089955A | JP5161529B2
简单同族成员数量
2
简单同族被引用专利总数
43
诉讼案件数
0
法律状态/事件
授权
抱歉,您的浏览器不支持PDF预览,请点击链接下载PDF文件