专利数据库
统计分析
产业报告
专利数据监控
产业人才
行业动态
产业政策法规
维权援助
个人中心
详情
文本
图像
标题
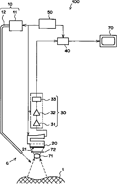
内視鏡用の撮像方法および装置
授权日
1900-01-01
公开(公告)号
JP2003000537A
申请日
2001-06-27
公开(公告)日
2003-01-07
当前申请(专利权)人
富士写真フイルム株式会社
发明人
辻田 和宏 | 千代 知成
简单同族
JP2003000537A | US20030001951A1
简单同族成员数量
2
简单同族被引用专利总数
40
诉讼案件数
0
法律状态/事件
撤回
抱歉,您的浏览器不支持PDF预览,请点击链接下载PDF文件