专利数据库
统计分析
产业报告
专利数据监控
产业人才
行业动态
产业政策法规
维权援助
个人中心
详情
文本
图像
标题
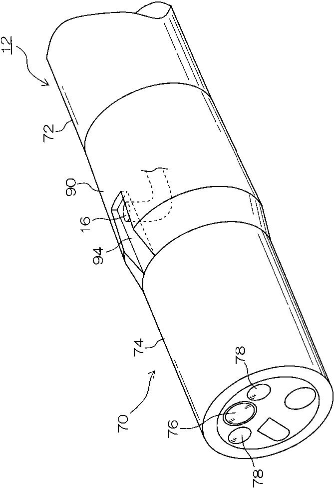
バルーン式内視鏡
授权日
2006-04-07
公开(公告)号
JP3787723B2
申请日
2003-05-12
公开(公告)日
2006-06-21
当前申请(专利权)人
フジノン株式会社 | 有限会社エスアールジェイ
发明人
関口 正
简单同族
CN101040768A | CN101040768B | CN101172030A | CN101172030B | JP2004329720A | JP3787723B2
简单同族成员数量
6
简单同族被引用专利总数
29
诉讼案件数
0
法律状态/事件
授权 | 权利转移
抱歉,您的浏览器不支持PDF预览,请点击链接下载PDF文件