专利数据库
统计分析
产业报告
专利数据监控
产业人才
行业动态
产业政策法规
维权援助
个人中心
详情
文本
图像
标题
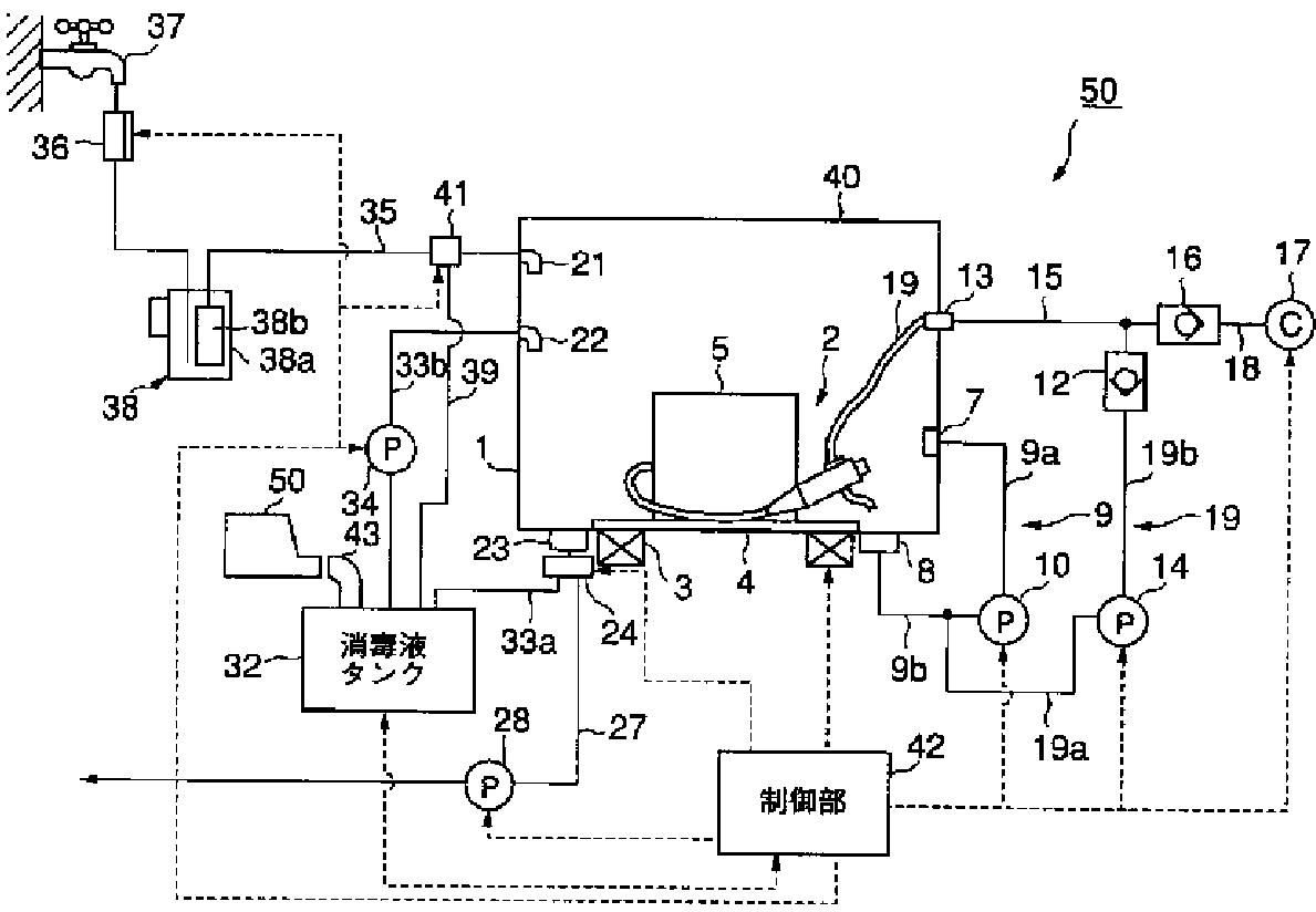
内視鏡洗滌消毒装置
授权日
2004-03-26
公开(公告)号
JP3537370B2
申请日
2000-02-04
公开(公告)日
2004-06-14
当前申请(专利权)人
オリンパス株式会社
发明人
木下 俊成 | 中川 幹彦
简单同族
JP2000287924A | JP3537370B2
简单同族成员数量
2
简单同族被引用专利总数
34
诉讼案件数
0
法律状态/事件
未缴年费 | 权利转移
抱歉,您的浏览器不支持PDF预览,请点击链接下载PDF文件