专利数据库
统计分析
产业报告
专利数据监控
产业人才
行业动态
产业政策法规
维权援助
个人中心
详情
文本
图像
标题
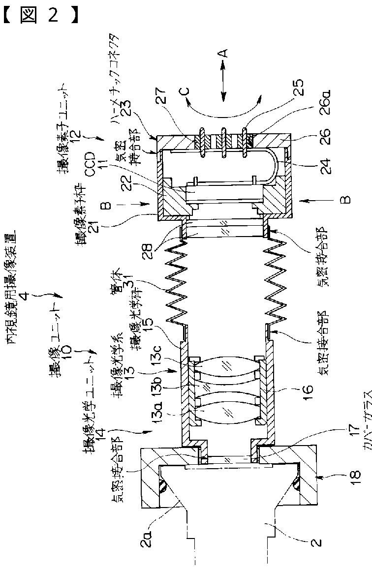
内視鏡用撮像装置
授权日
2005-03-25
公开(公告)号
JP3659882B2
申请日
2000-10-31
公开(公告)日
2005-06-15
当前申请(专利权)人
オリンパス株式会社
发明人
谷沢 信吉 | 棚橋 史典 | 清水 正己 | 山口 貴夫 | 黒田 宏之 | 竹腰 聡
简单同族
JP2002136477A | JP3659882B2 | US20030169333A1 | US7714885
简单同族成员数量
4
简单同族被引用专利总数
32
诉讼案件数
0
法律状态/事件
未缴年费
抱歉,您的浏览器不支持PDF预览,请点击链接下载PDF文件