专利数据库
统计分析
产业报告
专利数据监控
产业人才
行业动态
产业政策法规
维权援助
个人中心
详情
文本
图像
标题
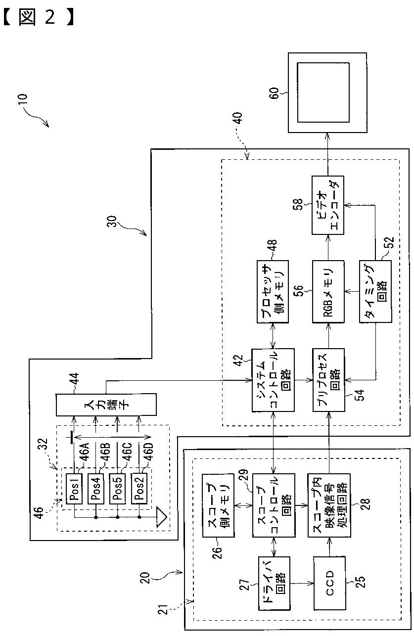
内視鏡装置
授权日
2011-07-22
公开(公告)号
JP4787024B2
申请日
2006-01-13
公开(公告)日
2011-10-05
当前申请(专利权)人
HOYA株式会社
发明人
榎本 貴之
简单同族
DE102007002145A1 | JP2007185349A | JP4787024B2 | US20070167673A1 | US7440005
简单同族成员数量
5
简单同族被引用专利总数
47
诉讼案件数
0
法律状态/事件
授权 | 权利转移
抱歉,您的浏览器不支持PDF预览,请点击链接下载PDF文件