专利数据库
统计分析
产业报告
专利数据监控
产业人才
行业动态
产业政策法规
维权援助
个人中心
详情
文本
图像
标题
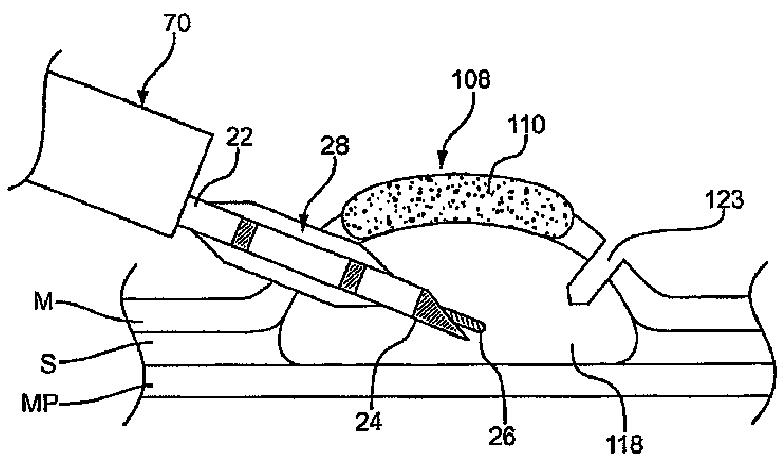
組織の内視鏡的切除を行うための器具および方法
授权日
1900-01-01
公开(公告)号
JP2009533150A
申请日
2007-04-11
公开(公告)日
2009-09-17
当前申请(专利权)人
ウィルソン-クック·メディカル·インコーポレーテッド
发明人
スカーヴェン, グレゴリー, ジェー. | カーピエル, ジョン, エー.
简单同族
AU2007238753A1 | AU2007238753B2 | CA2648434A1 | CA2648434C | EP2004072A1 | EP2004072B1 | JP2009533150A | US20070260178A1 | US20130197554A1 | WO2007120727A1
简单同族成员数量
10
简单同族被引用专利总数
27
诉讼案件数
0
法律状态/事件
驳回 | 权利转移
抱歉,您的浏览器不支持PDF预览,请点击链接下载PDF文件