专利数据库
统计分析
产业报告
专利数据监控
产业人才
行业动态
产业政策法规
维权援助
个人中心
详情
文本
图像
标题
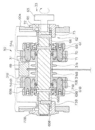
電動湾曲内視鏡
授权日
1900-01-01
公开(公告)号
JP2004174225A
申请日
2003-07-14
公开(公告)日
2004-06-24
当前申请(专利权)人
オリンパス株式会社
发明人
前田 俊成 | 上野 晴彦 | 荒井 敬一 | 池田 裕一 | 宮城 隆康
简单同族
JP2004174225A | JP4311994B2 | US20040073084A1 | US6932761
简单同族成员数量
4
简单同族被引用专利总数
84
诉讼案件数
0
法律状态/事件
授权 | 权利转移
抱歉,您的浏览器不支持PDF预览,请点击链接下载PDF文件