专利数据库
统计分析
产业报告
专利数据监控
产业人才
行业动态
产业政策法规
维权援助
个人中心
详情
文本
图像
标题
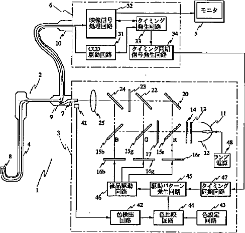
内視鏡装置及び光源装置
授权日
1900-01-01
公开(公告)号
JP2001224015A
申请日
2000-02-07
公开(公告)日
2001-08-17
当前申请(专利权)人
オリンパス光学工業株式会社
发明人
細田 誠一 | 八巻 正英
简单同族
JP2001224015A
简单同族成员数量
1
简单同族被引用专利总数
24
诉讼案件数
0
法律状态/事件
撤回
抱歉,您的浏览器不支持PDF预览,请点击链接下载PDF文件