专利数据库
统计分析
产业报告
专利数据监控
产业人才
行业动态
产业政策法规
维权援助
个人中心
详情
文本
图像
标题
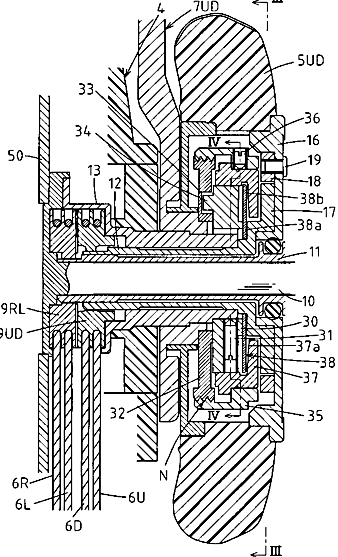
内視鏡の湾曲保持機構
授权日
1900-01-01
公开(公告)号
JP2007313292A
申请日
2007-02-08
公开(公告)日
2007-12-06
当前申请(专利权)人
HOYA株式会社
发明人
丸山 義則
简单同族
DE102007019781A1 | JP2007313292A | JP2007313292A5 | JP4928969B2 | US20070255104A1 | US7828725
简单同族成员数量
6
简单同族被引用专利总数
75
诉讼案件数
0
法律状态/事件
授权 | 权利转移
抱歉,您的浏览器不支持PDF预览,请点击链接下载PDF文件