专利数据库
统计分析
产业报告
专利数据监控
产业人才
行业动态
产业政策法规
维权援助
个人中心
详情
文本
图像
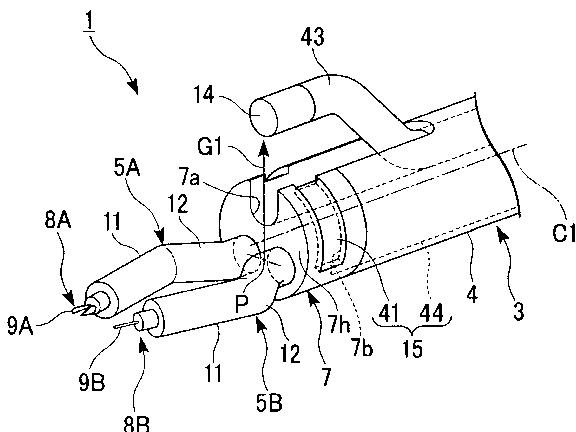
标题
内視鏡装置
授权日
1900-01-01
公开(公告)号
JP2009279411A
申请日
2009-05-20
公开(公告)日
2009-12-03
当前申请(专利权)人
オリンパスメディカルシステムズ株式会社
发明人
山谷 謙
简单同族
EP2123225A1 | EP2123225B1 | JP2009279411A | JP5325654B2 | US20090292164A1 | US8562513
简单同族成员数量
6
简单同族被引用专利总数
115
诉讼案件数
0
法律状态/事件
授权 | 权利转移
抱歉,您的浏览器不支持PDF预览,请点击链接下载PDF文件