专利数据库
统计分析
产业报告
专利数据监控
产业人才
行业动态
产业政策法规
维权援助
个人中心
详情
文本
图像
标题
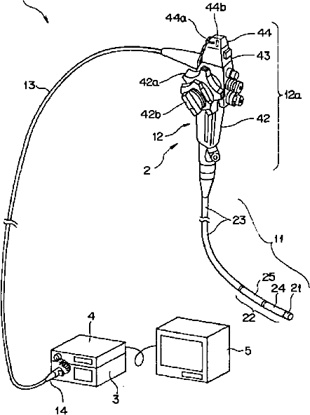
内視鏡
授权日
1900-01-01
公开(公告)号
JP2002177199A
申请日
2001-07-31
公开(公告)日
2002-06-25
当前申请(专利权)人
オリンパス光学工業株式会社
发明人
小倉 剛 | 中村 俊夫 | 濱▲崎▼ 昌典 | 海谷 晴彦
简单同族
JP2002177199A | US20020099266A1 | US6811532
简单同族成员数量
3
简单同族被引用专利总数
89
诉讼案件数
0
法律状态/事件
驳回
抱歉,您的浏览器不支持PDF预览,请点击链接下载PDF文件