专利数据库
统计分析
产业报告
专利数据监控
产业人才
行业动态
产业政策法规
维权援助
个人中心
详情
文本
图像
标题
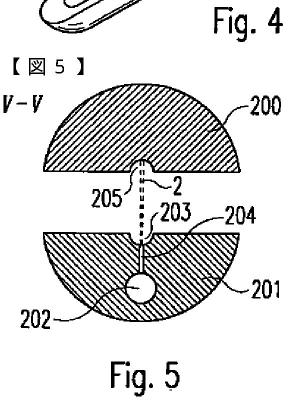
内視鏡手術用多機能装置
授权日
2012-08-17
公开(公告)号
JP5062577B2
申请日
2007-04-03
公开(公告)日
2012-10-31
当前申请(专利权)人
エルベ エレクトロメディツィン ゲーエムベーハー
发明人
フィッシャー, クラウス
简单同族
CN101420914A | CN101420914B | EP2007293A1 | EP2007293B1 | JP2009533109A | JP5062577B2 | US20090125027A1 | US9308014 | WO2007118608A1
简单同族成员数量
9
简单同族被引用专利总数
198
诉讼案件数
0
法律状态/事件
授权
抱歉,您的浏览器不支持PDF预览,请点击链接下载PDF文件