专利数据库
统计分析
产业报告
专利数据监控
产业人才
行业动态
产业政策法规
维权援助
个人中心
详情
文本
图像
标题
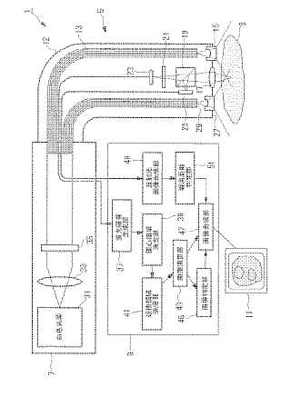
蛍光内視鏡および蛍光測定方法
授权日
1900-01-01
公开(公告)号
JP2008154846A
申请日
2006-12-25
公开(公告)日
2008-07-10
当前申请(专利权)人
オリンパス株式会社
发明人
石原 康成
简单同族
JP2008154846A | JP2008154846A5 | JP5019866B2 | US20100049058A1 | US8295917 | WO2008078742A1
简单同族成员数量
6
简单同族被引用专利总数
48
诉讼案件数
0
法律状态/事件
授权 | 权利转移
抱歉,您的浏览器不支持PDF预览,请点击链接下载PDF文件