专利数据库
统计分析
产业报告
专利数据监控
产业人才
行业动态
产业政策法规
维权援助
个人中心
详情
文本
图像
标题
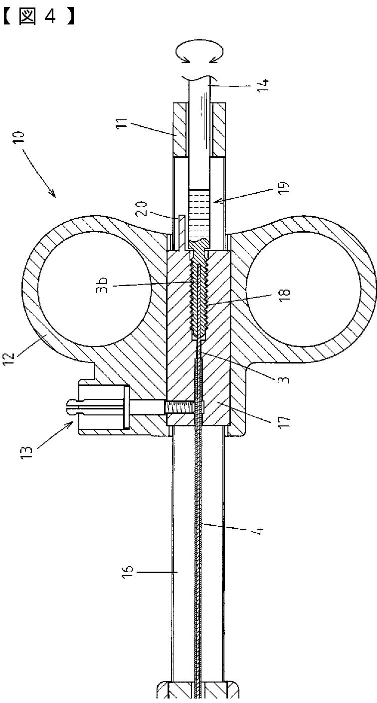
内視鏡用高周波切開具
授权日
2011-04-28
公开(公告)号
JP4731274B2
申请日
2005-10-19
公开(公告)日
2011-07-20
当前申请(专利权)人
HOYA株式会社
发明人
杉田 憲幸
简单同族
DE102006049370A1 | DE102006049370B4 | JP2007111148A | JP4731274B2 | US20070088354A1 | US8052681
简单同族成员数量
6
简单同族被引用专利总数
48
诉讼案件数
0
法律状态/事件
授权 | 权利转移
抱歉,您的浏览器不支持PDF预览,请点击链接下载PDF文件