专利数据库
统计分析
产业报告
专利数据监控
产业人才
行业动态
产业政策法规
维权援助
个人中心
详情
文本
图像
标题
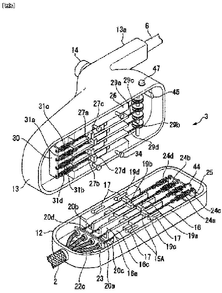
内視鏡装置
授权日
1900-01-01
公开(公告)号
JPWO2009035051A1
申请日
2008-09-11
公开(公告)日
2010-12-24
当前申请(专利权)人
オリンパス株式会社
发明人
此村 優
简单同族
CN101795616A | EP2189103A1 | EP2189103A4 | JP5160549B2 | JPWO2009035051A1 | JPWO2009035051A5 | US20100160730A1 | WO2009035051A1
简单同族成员数量
8
简单同族被引用专利总数
37
诉讼案件数
0
法律状态/事件
授权 | 权利转移
抱歉,您的浏览器不支持PDF预览,请点击链接下载PDF文件