专利数据库
统计分析
产业报告
专利数据监控
产业人才
行业动态
产业政策法规
维权援助
个人中心
详情
文本
图像
标题
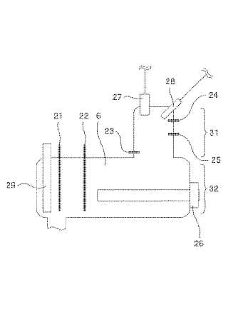
内視鏡洗浄消毒装置
授权日
1900-01-01
公开(公告)号
JP2008272114A
申请日
2007-04-26
公开(公告)日
2008-11-13
当前申请(专利权)人
オリンパスメディカルシステムズ株式会社
发明人
河内 真一郎 | 鈴木 英理 | 鈴木 信太郎
简单同族
CN101293105A | CN101293105B | CN201271385Y | DE602008001325D1 | EP1985315A1 | EP1985315B1 | JP2008272114A | JP4989291B2 | KR1020080096422A | US20080267812A1 | US7943086
简单同族成员数量
11
简单同族被引用专利总数
46
诉讼案件数
0
法律状态/事件
授权 | 权利转移
抱歉,您的浏览器不支持PDF预览,请点击链接下载PDF文件