专利数据库
统计分析
产业报告
专利数据监控
产业人才
行业动态
产业政策法规
维权援助
个人中心
详情
文本
图像
标题
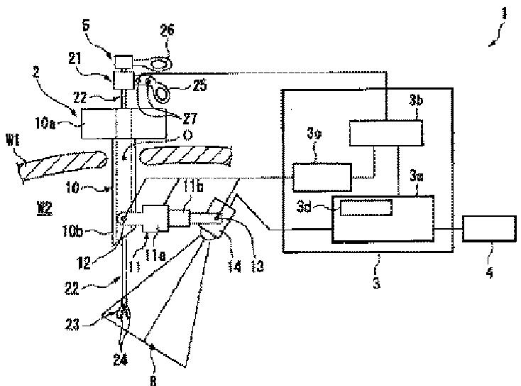
内視鏡外科手術器具
授权日
1900-01-01
公开(公告)号
JPWO2007097034A1
申请日
2006-02-27
公开(公告)日
2009-07-09
当前申请(专利权)人
オリンパスメディカルシステムズ株式会社
发明人
箕澤 領 | 出島 工 | 宮本 学 | 松野 清孝
简单同族
EP1989990A1 | EP1989990A4 | EP1989990B1 | JP4744595B2 | JPWO2007097034A1 | US20090062604A1 | WO2007097034A1
简单同族成员数量
7
简单同族被引用专利总数
48
诉讼案件数
0
法律状态/事件
授权 | 权利转移
抱歉,您的浏览器不支持PDF预览,请点击链接下载PDF文件