专利数据库
统计分析
产业报告
专利数据监控
产业人才
行业动态
产业政策法规
维权援助
个人中心
详情
文本
图像
标题
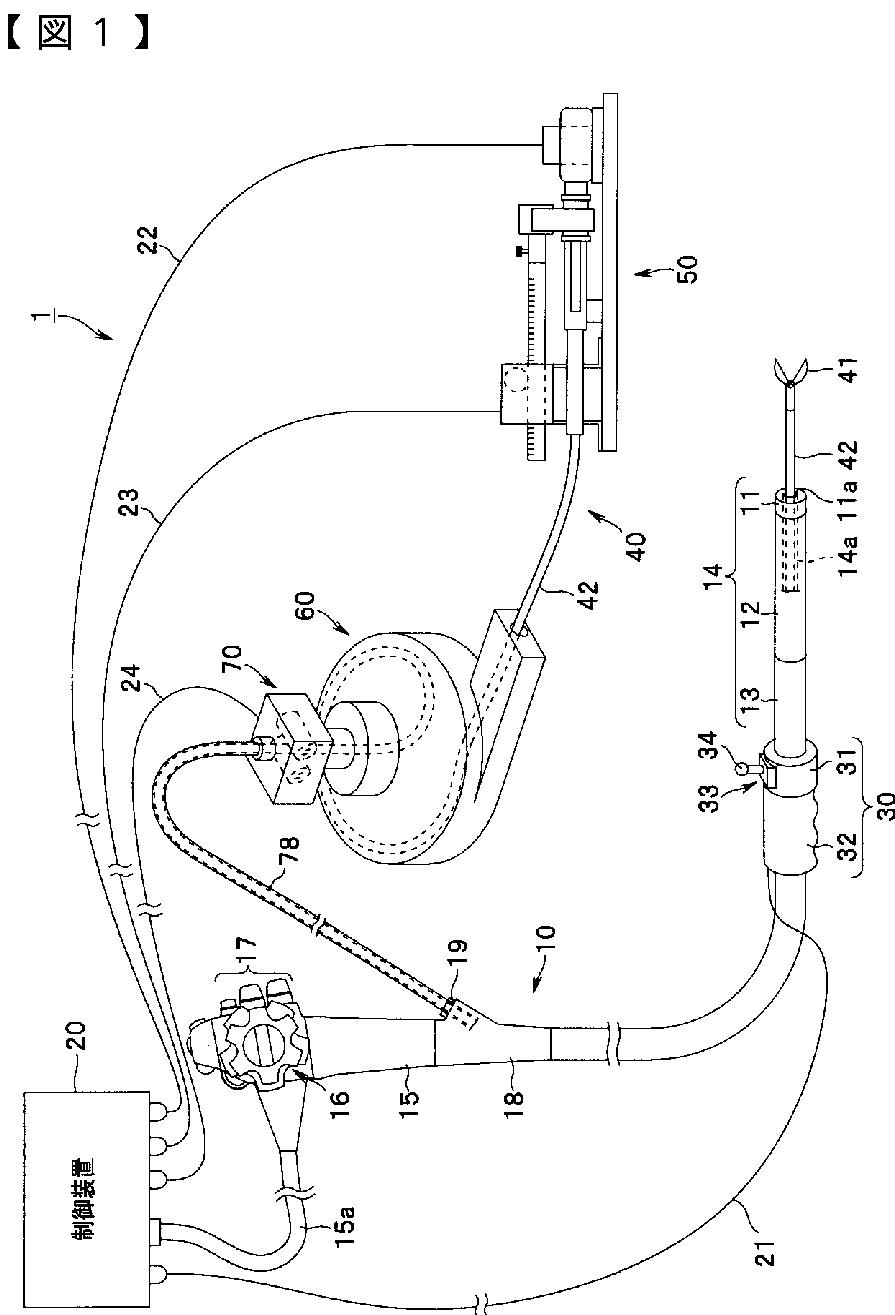
医療装置および内視鏡システム
授权日
2013-04-05
公开(公告)号
JP5237653B2
申请日
2008-02-29
公开(公告)日
2013-07-17
当前申请(专利权)人
オリンパスメディカルシステムズ株式会社
发明人
村上 和士 | 小貫 喜生 | 小宮 孝章 | 本田 一樹 | 倉 康人 | 市川 裕章 | 西家 武弘
简单同族
EP2005875A1 | EP2005875B1 | JP2009000500A | JP5237653B2 | US20080319260A1 | US8083669
简单同族成员数量
6
简单同族被引用专利总数
43
诉讼案件数
0
法律状态/事件
授权 | 权利转移
抱歉,您的浏览器不支持PDF预览,请点击链接下载PDF文件