专利数据库
统计分析
产业报告
专利数据监控
产业人才
行业动态
产业政策法规
维权援助
个人中心
详情
文本
图像
标题
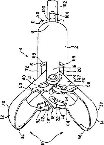
内視鏡複数標本生検鉗子
授权日
1900-01-01
公开(公告)号
JP2002538875A
申请日
2000-01-27
公开(公告)日
2002-11-19
当前申请(专利权)人
コンメッド エンドスコーピック テクノロジーズ インコーポレーテッド
发明人
アズノイアン ハロルド エム. | パターソン フランク ブイ. | ルキン ピーター ジェイ. | ディミトリアス ジョン イー. | ランテーン スティーブン エル. | ページ エドワード シー.
简单同族
AT306850T | CA2364062A1 | CA2364062C | DE60023272D1 | DE60023272T2 | EP1161183A1 | EP1161183B1 | ES2251366T3 | JP2002538875A | JP4081557B2 | MXPA01009149A | US6083150 | WO2000054658A1
简单同族成员数量
13
简单同族被引用专利总数
180
诉讼案件数
0
法律状态/事件
期限届满 | 权利转移
抱歉,您的浏览器不支持PDF预览,请点击链接下载PDF文件