专利数据库
统计分析
产业报告
专利数据监控
产业人才
行业动态
产业政策法规
维权援助
个人中心
详情
文本
图像
标题
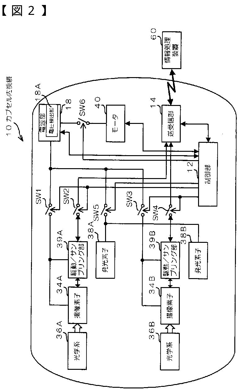
カプセル内視鏡
授权日
2010-08-27
公开(公告)号
JP4574596B2
申请日
2006-07-06
公开(公告)日
2010-11-04
当前申请(专利权)人
富士フイルム株式会社
发明人
沢地 洋一
简单同族
JP2008012109A | JP2008012109A5 | JP4574596B2 | US20080045789A1 | US8016747
简单同族成员数量
5
简单同族被引用专利总数
53
诉讼案件数
0
法律状态/事件
未缴年费 | 权利转移
抱歉,您的浏览器不支持PDF预览,请点击链接下载PDF文件