专利数据库
统计分析
产业报告
专利数据监控
产业人才
行业动态
产业政策法规
维权援助
个人中心
详情
文本
图像
标题
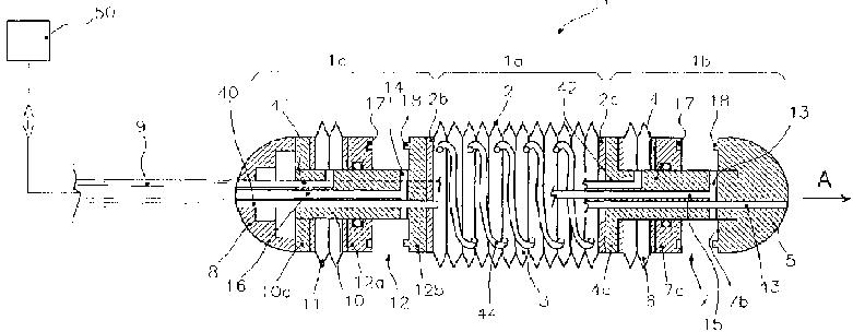
内視鏡装置
授权日
1900-01-01
公开(公告)号
JP2004521686A
申请日
2001-02-28
公开(公告)日
2004-07-22
当前申请(专利权)人
コリア インスティテュート オブ サイエンス アンド テクノロジー
发明人
フェー スー ジェイ,ルイス | アリーナ,アルベルト | メンシアッシ,アリアンナ | ダリオ、パオロ
简单同族
DE60122783D1 | DE60122783T2 | EP1370320A1 | EP1370320B1 | JP2004521686A | JP4080887B2 | US20040073082A1 | US6939291 | WO2002068035A1
简单同族成员数量
9
简单同族被引用专利总数
83
诉讼案件数
0
法律状态/事件
授权 | 权利转移
抱歉,您的浏览器不支持PDF预览,请点击链接下载PDF文件