专利数据库
统计分析
产业报告
专利数据监控
产业人才
行业动态
产业政策法规
维权援助
个人中心
详情
文本
图像
标题
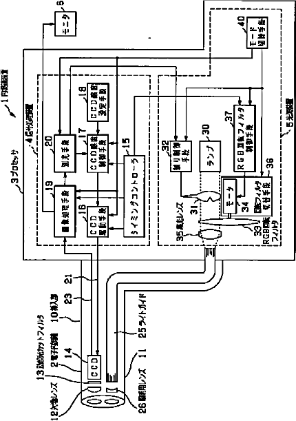
内視鏡装置
授权日
1900-01-01
公开(公告)号
JP2003079570A
申请日
2001-09-13
公开(公告)日
2003-03-18
当前申请(专利权)人
オリンパス株式会社
发明人
道口 信行
简单同族
EP1294186A2 | EP1294186A3 | JP2003079570A | JP2003079570A5 | JP4772235B2 | US20030050532A1
简单同族成员数量
6
简单同族被引用专利总数
59
诉讼案件数
0
法律状态/事件
未缴年费 | 权利转移
抱歉,您的浏览器不支持PDF预览,请点击链接下载PDF文件