专利数据库
统计分析
产业报告
专利数据监控
产业人才
行业动态
产业政策法规
维权援助
个人中心
详情
文本
图像
标题
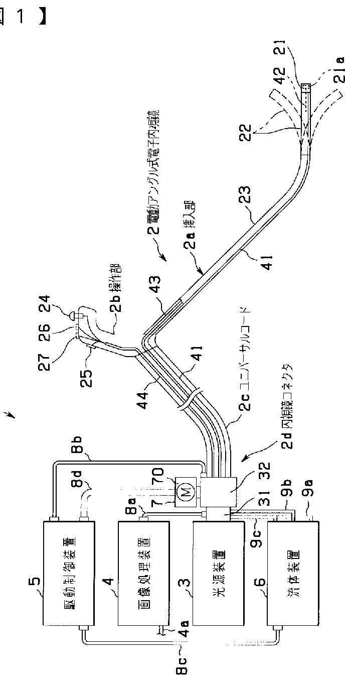
電動アングル式電子内視鏡装置
授权日
2005-04-28
公开(公告)号
JP3673157B2
申请日
2000-09-05
公开(公告)日
2005-07-20
当前申请(专利权)人
オリンパス株式会社
发明人
前田 俊成
简单同族
JP2002078675A | JP3673157B2
简单同族成员数量
2
简单同族被引用专利总数
56
诉讼案件数
0
法律状态/事件
未缴年费 | 权利转移
抱歉,您的浏览器不支持PDF预览,请点击链接下载PDF文件