专利数据库
统计分析
产业报告
专利数据监控
产业人才
行业动态
产业政策法规
维权援助
个人中心
详情
文本
图像
标题
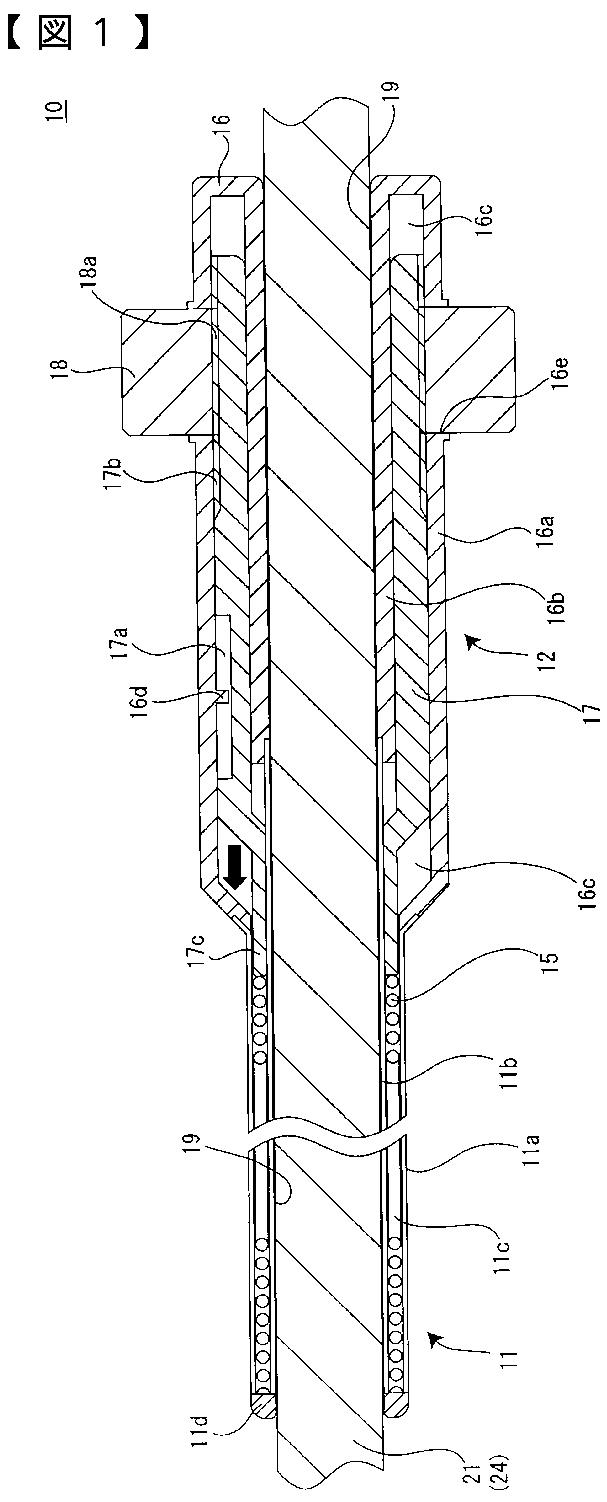
内視鏡の硬度可変シースアダプタ
授权日
2008-08-22
公开(公告)号
JP4172966B2
申请日
2002-08-08
公开(公告)日
2008-10-29
当前申请(专利权)人
HOYA株式会社
发明人
黒澤 秀人
简单同族
JP2004065745A | JP4172966B2
简单同族成员数量
2
简单同族被引用专利总数
79
诉讼案件数
0
法律状态/事件
未缴年费 | 权利转移
抱歉,您的浏览器不支持PDF预览,请点击链接下载PDF文件