专利数据库
统计分析
产业报告
专利数据监控
产业人才
行业动态
产业政策法规
维权援助
个人中心
详情
文本
图像
标题
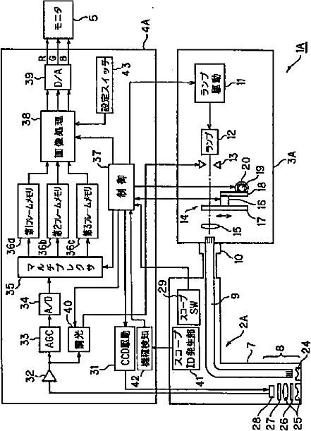
内視鏡装置
授权日
1900-01-01
公开(公告)号
JP2003126014A
申请日
2001-10-22
公开(公告)日
2003-05-07
当前申请(专利权)人
オリンパス株式会社
发明人
秋本 俊也 | 上野 仁士 | 今泉 克一 | 金子 守 | 後野 和弘
简单同族
JP2003126014A | JP3884265B2
简单同族成员数量
2
简单同族被引用专利总数
34
诉讼案件数
0
法律状态/事件
未缴年费 | 权利转移
抱歉,您的浏览器不支持PDF预览,请点击链接下载PDF文件