专利数据库
统计分析
产业报告
专利数据监控
产业人才
行业动态
产业政策法规
维权援助
个人中心
详情
文本
图像
标题
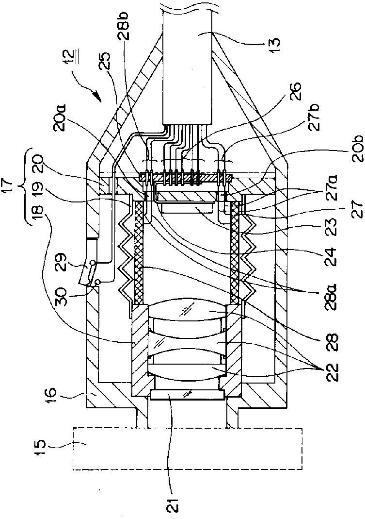
内視鏡用撮像装置
授权日
1900-01-01
公开(公告)号
JP2004129950A
申请日
2002-10-11
公开(公告)日
2004-04-30
当前申请(专利权)人
オリンパス株式会社
发明人
高山 大樹 | 碇 一郎 | 萩原 雅博 | 黒田 宏之 | 安久井 伸章 | 清水 正己 | 竹腰 聡 | 萬壽 和夫
简单同族
JP2004129950A | JP3923882B2
简单同族成员数量
2
简单同族被引用专利总数
22
诉讼案件数
0
法律状态/事件
未缴年费
抱歉,您的浏览器不支持PDF预览,请点击链接下载PDF文件