专利数据库
统计分析
产业报告
专利数据监控
产业人才
行业动态
产业政策法规
维权援助
个人中心
详情
文本
图像
标题
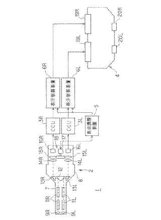
立体内視鏡装置
授权日
1900-01-01
公开(公告)号
JP2005058374A
申请日
2003-08-08
公开(公告)日
2005-03-10
当前申请(专利权)人
オリンパス株式会社
发明人
野上 慎吾 | 工藤 正宏 | 入江 昌幸 | 小賀坂 高宏 | 森田 和雄 | 萬壽 和夫
简单同族
EP1652467A1 | EP1652467A4 | JP2005058374A | JP4179946B2 | US20060126176A1 | US7671888 | WO2005013812A1
简单同族成员数量
7
简单同族被引用专利总数
77
诉讼案件数
0
法律状态/事件
授权 | 权利转移
抱歉,您的浏览器不支持PDF预览,请点击链接下载PDF文件